Wheelchair Caster Wheels
Description:
Wheelchair quick release pin axles12mm Diameter (accept customize made) x customized length
can match shaft sleeve
Our wheelchair quick release pin axles are available in a range of different sizes to cover all lengths needed. The standard diameter and thickness of wheelchair pins is 1/2 inch (12.7mm) and we can also supply 12mm diameter too. The length will be determined by the wheels you have and the make/model of wheelchair.
There is a small amount of adjustment that you can make on the pins and you can always use a spacer washer, which maybe of benefit if you would like more space on the inside of the wheel so the tyres are not as close to your side guards.
Quick release wheelchair wheel axles allows for quick and easy removal of your wheel with the convenient push of a button! Simply select your button size, small or large, and the axle size that will fit your wheel.
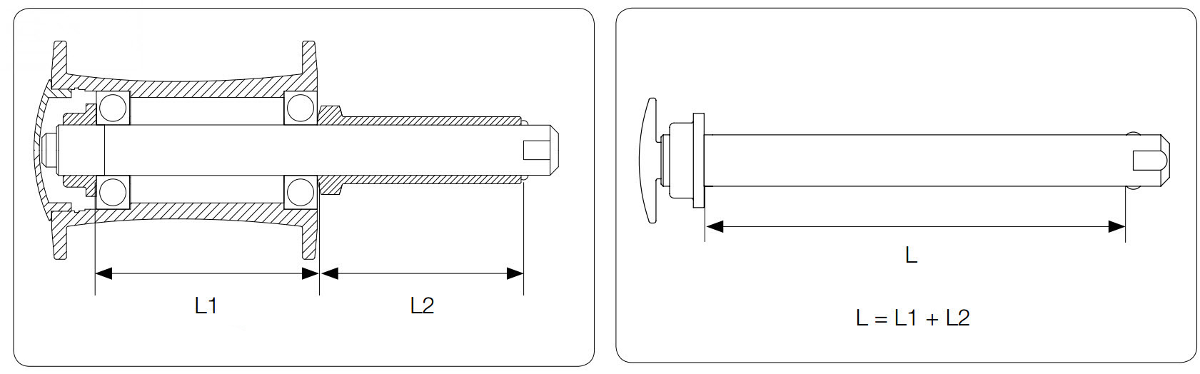
An adjustable quick release pin axles for the rear wheel on your wheelchair, sold singly or in pairs. Choose from a standard ½ inch (12.7mm) diameter quick release axle, which fits many brands of wheel, or a 12mm diameter is also available. Choose from 99mm, 104mm or 109mm lengths. Contact us for other lengths if required like below instruction working out the Minimum and Maximum Effective Length.

Why are they known as wheelchair quick release axle pins?
These pins have a quick-release feature that makes them quick and easy to install. This feature also makes them very safe, ensuring the secure attachment of your wheels to your wheelchair.
First, you press the button at the top of the axel. This depresses the two ball-bearings at the far end of the axle. This then allows you to insert the axle through the wheel and into the hub. When correctly in place, you release the button. The ball bearings will then click into place providing a secure attachment.
What size of pin do I need?
Most wheelchairs use a 1/2-inch (12.7-mm) pin. This is the standard pin size and if you have a Kuschall, Quickie, or RGK wheelchair this will most probably be the diameter that you need. However, some makes of wheelchair use a 12-mm axle pin. Although this is a very small size difference, and hard to see with the naked eye, the correct size is essential for the safe functioning of your wheelchair. For this reason, please do not doubt in calling us at +0086-137-3645-4395 (wechat/Whatsapp) or send us an email to sales@casterwheelsco.com. We will be delighted to help you to ensure that you purchase the correct diameter for your wheelchair and to assist you with any other queries you may have.
Wheelchair quick release pin axles also come in different lengths. The length of axle that you need depends on what rear wheels you have on your chair and the type of hub. To determine the length you need you can measure from the nut beneath the button to the ball bearings at the other end of the pin. If you are not sure what length you need please contact us and we will be happy to advise.
If you have any other nonstandard size We can customize made the wheelchair quick release pin axles for you, Just measure the wheel hub width and wheelchair frame width then send us the detailed drawing and specs.


English
Spanish
German
Russian
Arabic
Portuguese
Italian
French
Hebrew
Turkish